ガールズちゃんねる

線香が好きな人

75コメント2016/02/27(土) 15:42

  • 1. 匿名 2016/02/26(金) 14:06:20 

    最近の線香はコラボ商品が多いですよね
    ミルキー線香やサクマドロップス線香
    猫用の黒缶線香まであります

    好きな香りやお薦めの線香を教えてください

    サクマドロップス ミニ寸線香 新発売 | お知らせ | 神仏用ローソクの『カメヤマローソク』
    サクマドロップス ミニ寸線香 新発売 | お知らせ | 神仏用ローソクの『カメヤマローソク』rosoku.kameyama.co.jp

    発売から100年近く経っても老若男女、年齢問わず愛され続けているサクマ製菓のロングセラー「サクマドロップス」が4種類の香りのお線香になりました。

    線香が好きな人

    +46

    -7

  • 2. 匿名 2016/02/26(金) 14:07:09 

    桜とか梅の香り!

    +58

    -3

  • 3. 匿名 2016/02/26(金) 14:07:44 

    おばあちゃんのにおいがして落ち着く。

    +62

    -5

  • 4. 匿名 2016/02/26(金) 14:07:57 

    ごめん一瞬絢香に見えた

    +26

    -24

  • 5. 匿名 2016/02/26(金) 14:08:39 

    普通のラベンダーで

    +16

    -10

  • 6. 匿名 2016/02/26(金) 14:08:42 

    あ〜、生きてた頃はあの匂いが苦手だったけど、
    ここ最近は線香の匂いかぐと落ち着くわ。

    +53

    -9

  • 7. 匿名 2016/02/26(金) 14:08:48 

    安物はたとえバラの香りでも臭いよね。
    おすすめ知りたいです。

    +19

    -3

  • 8. 匿名 2016/02/26(金) 14:09:42 

    スゴーイ!今こんなのあるんだ

    +47

    -2

  • 9. 匿名 2016/02/26(金) 14:09:48 

    何だかんだ言っても昔ながらのやつが一番心落ち着く。

    +92

    -6

  • 10. 匿名 2016/02/26(金) 14:09:54 

    白檀の香りの大好き。
    おばあちゃんち思い出して懐かしくなるし
    落ち着く・・・・

    +102

    -3

  • 11. 匿名 2016/02/26(金) 14:10:38 

    珈琲の香り
    ペットが居るので消臭目的で焚くことがあります
    煙が少ないタイプなので気に入っています

    +12

    -3

  • 12. 匿名 2016/02/26(金) 14:10:39 

    ばあちゃんちの たたみ&線香のにおい
    が最高に落ち着く(°▽°)

    +28

    -2

  • 13. 匿名 2016/02/26(金) 14:11:01 

    こんなカワイイ線香どこで売ってるんだろう⁉
    見た事ない。

    +55

    -3

  • 14. 匿名 2016/02/26(金) 14:11:05 

    香りは好きなんだけど、ぜんそくだから発作が出る(笑)
    色々なお香試したいなー

    +11

    -5

  • 15. 匿名 2016/02/26(金) 14:11:18 

    >>6南無ぅ( ̄人 ̄)

    +37

    -2

  • 16. 匿名 2016/02/26(金) 14:11:23 

    >>6
    あの世の方かしら?

    +39

    -3

  • 17. 匿名 2016/02/26(金) 14:11:31 

    質問させて!

    お香を焚くと壁紙汚れたりする?

    賃貸住まいなのでなんとなく気になっちゃいました。

    +10

    -8

  • 18. 匿名 2016/02/26(金) 14:11:32 

    >>4
    疲れてるんじゃない?
    目を休ませたら?

    +4

    -2

  • 19. 匿名 2016/02/26(金) 14:11:49 

    猫缶???…っていったい
    なに?

    +18

    -3

  • 20. 匿名 2016/02/26(金) 14:12:44 

    夏は蚊取り線香が落ち着く。

    +37

    -3

  • 21. 匿名 2016/02/26(金) 14:12:58 

    お仏壇のお線香のにおいが好きです。

    +28

    -2

  • 22. 匿名 2016/02/26(金) 14:13:39 

    >>19
    ねこの仏壇に立ててあげるんじゃない?

    +27

    -1

  • 23. 匿名 2016/02/26(金) 14:14:02 

    マリンの香り
    こういうのは線香の香りは殆どしないのかな?

    +26

    -1

  • 24. 匿名 2016/02/26(金) 14:14:29 

    白檀の香りが好き。

    +56

    -0

  • 25. 匿名 2016/02/26(金) 14:15:24 

    アロマのお香の線香も、今は増えてるよね~。
    柑橘系の香りとかあるくらいで、今は種類穂が豊富。

    寺社向けの墓石会社の知人が以前、「故人の好きなお酒の形のものを供えても、アロマスティックを供えても、故人のことを偲びながらなら、なんでもアリなんだよ~」と。

    ただ、お家の中では、アロマもお線香も、香り過敏症とか成分によっては煙が有害物質となって身体の弱い人はアレルギー反応が出るみたいだから気を付けてねとも言ってました。

    +12

    -0

  • 26. 匿名 2016/02/26(金) 14:15:34 

    11です
    画像載せ忘れました
    線香が好きな人

    +22

    -1

  • 27. 匿名 2016/02/26(金) 14:15:52 

    京都の香彩堂の祗園香がオススメです。
    ネットでも買えるので是非試して欲しいです。
    香りもきつすぎずいいですよ、本当に。
    気持ちが落ち着く香りです。
    お値段もそんなに高くないです。

    +16

    -0

  • 28. 匿名 2016/02/26(金) 14:16:24 

    主さんのリンク先からカメヤマの商品みてきたけど、ろうそくとか雑貨も結構可愛いのあるんだね~

    +6

    -0

  • 29. 匿名 2016/02/26(金) 14:17:53 

    日本香道だったかな?

    それなりの値段だと、素敵な良い香りが広がるので、アロマと同じようにちょくちょく買いますw

    ※賃貸マンション住みですが壁や天井は、タバコのヤニみたいに黄ばんだことは無いです。
    ただ、終われば換気はします

    +14

    -0

  • 30. 匿名 2016/02/26(金) 14:18:50 

    風邪やインフルエンザが流行り出したら沈香。

    +4

    -0

  • 31. 匿名 2016/02/26(金) 14:19:23 

    >>19
    猫にあげる線香でかつお節の香りだって。
    猫用の缶詰め「黒缶」とコラボした線香とキャンドル
    線香が好きな人

    +16

    -3

  • 32. 匿名 2016/02/26(金) 14:20:28 

    東寺の風信香

    +5

    -0

  • 33. 匿名 2016/02/26(金) 14:20:29 

    線香っていえば田舎のおばあちゃんって感じがして懐かしくなる。

    +5

    -0

  • 34. 匿名 2016/02/26(金) 14:21:10 

    キャラメル線香を再発売してほしい

    +16

    -1

  • 35. 匿名 2016/02/26(金) 14:21:23 

    アロマオイルよりもお香が落ち着く

    湿気がある地域なのでしっくりします
    賃貸マンションだけど大丈夫ですよ

    +15

    -0

  • 36. 匿名 2016/02/26(金) 14:23:39 

    こんなお線香、見たことなかったよ〜
    主さん、サンキュー(^^)/

    +11

    -0

  • 37. 匿名 2016/02/26(金) 14:24:36 

    >>34
    欲しいー(≧▽≦)

    +4

    -0

  • 38. 匿名 2016/02/26(金) 14:25:38 

    食べれませんって注意書きあるのね
    線香が好きな人

    +25

    -1

  • 39. 匿名 2016/02/26(金) 14:26:33 

    これ!オススメ◎
    線香が好きな人

    +29

    -0

  • 40. 匿名 2016/02/26(金) 14:29:57 

    49日までは、線香の香りが食事変わりになるみたいだから
    ミルキー線香とか楽しめていいかもしれないですね

    +19

    -0

  • 41. 匿名 2016/02/26(金) 14:32:29 

    >>19
    ねこあつまるのかなあ・・

    +10

    -1

  • 42. 匿名 2016/02/26(金) 14:33:52 

    今の季節は普通のお線香は花粉症の症状が酷くなるので、煙の少ない物を使ってます。
    線香が好きな人

    +17

    -0

  • 43. 匿名 2016/02/26(金) 14:35:02 

    玉初堂の香樹林
    というのを焚いてます。

    +11

    -1

  • 44. 匿名 2016/02/26(金) 14:35:03 

    無印良品の洋の香りの線香が好きです。

    +8

    -0

  • 45. 匿名 2016/02/26(金) 14:35:46 

    白檀の香り好きだけど、服に染み付いてしまって線香くさい!と思われるかな〜と思い色々試してますがお菓子とのコラボは知らなかった〜!!!使ってみたい!

    +19

    -1

  • 46. 匿名 2016/02/26(金) 14:41:25 

    >>16もしかしたら、私たちが今いるのが死後の世界…(((;゚Д゚)))

    +10

    -2

  • 47. 匿名 2016/02/26(金) 14:46:08 

    線香は好きだよ。やはり昔ながらのやつがいいな。いろんな線香あるみたいけどお香、線香、ようは変わらないやん。お香の変わりに部屋で線香たいてるのもなんか変な風景だけど。オバケやってきそう。

    +8

    -2

  • 48. 匿名 2016/02/26(金) 14:46:09 

    いろんな種類あるんだあ

    +9

    -0

  • 49. 匿名 2016/02/26(金) 14:47:01 

    線香やお香、長時間吸うのは考えものですよ
    ずっと自室はお香を焚きしめていた友人は38歳で肺癌でなくなりました

    +11

    -5

  • 50. 匿名 2016/02/26(金) 14:56:21 

    大宰府天満宮参道にあるショップで買った「梅の香り」という線香が良かったです(^-^)

    +3

    -0

  • 51. 匿名 2016/02/26(金) 15:03:07 

    いつも手に入りやすい
    花げしきの桜の香りか

    かたりべの白梅

    ときどき花げしきの薔薇の香り

    +15

    -0

  • 52. 匿名 2016/02/26(金) 15:06:59 

    私も、変な匂いのバニラ等のアロマより、線香の匂いの方が良い。
    落ち着く。
    バニラアロマ、はっきり言って吐き気する。

    +13

    -0

  • 53. 51 2016/02/26(金) 15:09:27 

    画像の順番間違えちゃった。すみません

    マンション住みで、ペット仏壇のお供えだから、
    定番の白檀とかよりいろいろ試してる。
    食事前必ずお参りするから、匂いが少なく煙の少ないお線香選んでます。

    +3

    -0

  • 54. 匿名 2016/02/26(金) 15:48:18 

    蚊取り線香と白檀の香りが大好きです。
    でも旦那(喫煙者)に煙たいって言われるから焚けない(^_^;)たばこの煙の方が嫌だわ!

    +6

    -0

  • 55. 匿名 2016/02/26(金) 15:49:14 

    堀川っていうお香が好きです。甘い香りで癒されます。

    +6

    -0

  • 56. 匿名 2016/02/26(金) 15:56:00 

    ちょっと話ずれるけどラストノーツって漫画思い出した

    +0

    -0

  • 57. 匿名 2016/02/26(金) 16:40:41 

    お値段はかわいくないけど 松栄堂 のお線香(お香)はハズレがない。

    特に 堀川 を焚いた時は日本っていーなーと思う
    線香が好きな人

    +7

    -1

  • 58. 匿名 2016/02/26(金) 17:16:48 

    青雲それは君がみたひかり~

    +5

    -1

  • 59. 匿名 2016/02/26(金) 17:29:13 

    広島の線香が天然素材で良いと聞きました。
    やや煙が多いみたいですがご存じの方いらっしゃいますか。

    +2

    -0

  • 60. 匿名 2016/02/26(金) 17:29:58 


    京都の香彩堂さんの「古都香:ことか」オススメです!!

    +2

    -0

  • 61. 匿名 2016/02/26(金) 17:35:33 

    お土産で頂いた屋久杉の自然木香

    邪魔にならない香りでした。
    線香が好きな人

    +3

    -0

  • 62. 匿名 2016/02/26(金) 17:40:55 

    私も絢香かと思ったw
    何もないとこで線香の香りしたら幽霊がいるって話し思い出したよ

    +1

    -0

  • 63. 匿名 2016/02/26(金) 17:59:20 

    宇野千代のお線香

    頂き物ですが、お香みたいで上品な香り。
    貰うとすごく嬉しい。

    +3

    -0

  • 64. 匿名 2016/02/26(金) 18:05:17 


    簡単にお線香に着火する方法

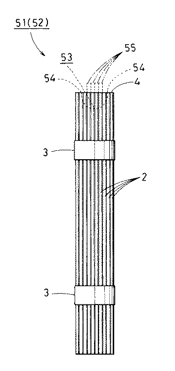
    線香専用着火器を使う他に、お線香の束の底の中心部分を少し押し上げ、先端の中央部(図の55)から着火するようにすると火が点きやすいです。

    線香が好きな人

    +3

    -1

  • 65. 匿名 2016/02/26(金) 20:45:28 

    デートの時線香くさいって言われ た。
    が、止められない。線香大好き

    +2

    -0

  • 66. 匿名 2016/02/26(金) 20:49:30 

    沈丁花の匂いが好きです

    +4

    -0

  • 67. 匿名 2016/02/26(金) 20:50:30 

    伽羅の香り。

    +4

    -0

  • 68. 匿名 2016/02/26(金) 23:15:05 

    一瞬「綾香が好きな人」と読み間違えた笑

    私は燃やすと文字が現れるお線香が好きです。
    小さい頃不思議だった。
    線香が好きな人

    +8

    -0

  • 69. 匿名 2016/02/26(金) 23:48:09 

    線香は、仏様が食べるんだよね

    ソースは、ぶっちゃけ寺

    +2

    -0

  • 70. 匿名 2016/02/27(土) 00:51:58 

    昔からある普通のお線香の香りが大好き。おばあちゃん家みたいで落ち着く。
    自転車で走ってるとお地蔵さん?があるんだけどお線香を焚いていて匂いがしたら吸いまくりますw

    +3

    -0

  • 71. 匿名 2016/02/27(土) 04:02:18 

    おばあちゃんがこの線香大好きで
    ちょっと高いけど
    ずっとこれ買ってます(﹡ˆ﹀ˆ﹡)♡
    線香が好きな人

    +3

    -0

  • 72. 匿名 2016/02/27(土) 10:11:00 

    こんなトピがあるなんて^^
    線香はいい匂いだし好きだわ☆

    +5

    -0

  • 73. 匿名 2016/02/27(土) 11:44:02 

    銘香高野霊香。
    知ってる人、いるかな? 
    お寺で香る線香に近いと思う。 
    門前町出身なので懐かしい香り。
    カレーみたいな匂いと言われた事もあるがw
    線香が好きな人

    +3

    -0

  • 74. 匿名 2016/02/27(土) 13:51:26 

    僕が見た希望〜

    +0

    -0

  • 75. 匿名 2016/02/27(土) 15:42:15 

    絢香に見えた

    +0

    -0

コメントを投稿する

トピック投稿後31日を過ぎると、コメント投稿ができなくなります。

関連キーワード